云管平台SCP

深信服云计算平台(Sangfor Cloud Platform)向下统一管理多数据中心、向上以服务目录的形式提供laas、Paas、大数据服务,为用户提供省时省事、平滑弹性、安全可靠、业务承载丰富的云计算集成平台,助力企业数据中心云化演进。
点击可切换产品版本
知道了
不再提醒
SCP 6.11.2
{{sendMatomoQuery("云管平台SCP","超融合集群上下电")}}

超融合集群上下电

更新时间:2025-11-20

场景说明

当机房进行例行维护(例行停电)或搬迁时,就需要对超融合集群执行下电和上电的操作。为了充分保障业务系统的可用性,避免下电过程对用户的业务数据造成影响。应在下电前先手动关闭业务服务,然后对虚拟机执行关机操作,最后再对超融合集群执行关机操作。

注意事项

  1. 超融合集群执行下电操作前保障整个集群没有其他任务在执行。
  2. 虚拟机的关机操作应使用超融合web控制台的关机功能或虚拟机内部的关机功能,禁止使用超融合web控制台的关闭电源功能。
  3. 服务器的关机操作应在超融合web控制台的主机页面执行,禁止直接拔电源或长按服务器关机键执行关机操作。
  4. 集群下电过程应遵循先停业务,再关闭虚拟机,再关闭服务器,最后关闭网络设备的顺序。
  5. 集群上电过程应遵循上开启网络设备,再开启服务器,再开启虚拟机,最后开启业务服务的顺序。

操作步骤

集群下电过程

  1. 登录超融合web控制台,检查超融合平台的任务列表是否有任务在执行。如果有任务在执行,则等待任务执行完毕后在继续进行操作。

手机屏幕的截图

描述已自动生成

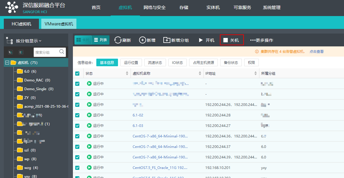
  1. 手动关闭业务系统的服务(可选)
  2. [虚拟机]页面,勾选全部虚拟机,选择关机操作,确保所有虚拟机处于关机状态。

图形用户界面, 网站

描述已自动生成

  1. [网络与安全/网络拓扑]页面,点击设备列表,进入设备列表页面。

图形用户界面, 文本, 网站

描述已自动生成

  1. 勾选所有设备,点击关机,将虚拟网络设备执行关机操作。

图形用户界面, 应用程序

描述已自动生成

  1. 等待关闭完毕后,可使用步骤1的方法检查任务列表是否有任务在执行,如果有任务在执行则需要所有任务执行完毕后再进行操作。
  2. 打开[实体机/物理主机]页面,逐个选择非主控主机,点击更多-关闭电源执行关机操作,最后在选择主控主机点击更多-关闭电源执行关机操作。

图形用户界面, 应用程序, 网站

描述已自动生成

  1. 确认服务器关闭完毕后,再对关联的网络设备执行关机操作。

集群上电过程

  1. 将网络设备加电启动,并进行网络测试,确保网络正常。
  2. 将服务器加电启动,确保服务器的所有电源正常运行。
  3. 服务器正常启动后,等待10-20分钟,登录超融合控制台,在首页进行一键检测,确保一键检测分数为100分。

图形用户界面

描述已自动生成

  1. 检查超融合平台的任务列表是否有任务在执行,如果有任务再执行则需要等待任务执行完毕后再继续进行操作。

手机屏幕的截图

描述已自动生成

  1. [网络与安全/网络拓扑]页面,点击<设备列表>,进入设备列表页面。

图形用户界面, 文本, 网站

描述已自动生成

  1. 勾选所有设备,点击开机,将虚拟网络设备执行开机操作。

图形用户界面, 应用程序

描述已自动生成

  1. [虚拟机]页面对虚拟机逐步执行开机操作,并在虚拟机内部启用业务系统的服务。开机和启用服务的顺序应遵循先开机数据库虚拟机,等数据库服务正常后再开机应用虚拟机。

图形用户界面

描述已自动生成

  1. 开机过程中应逐个验证业务系统是否正常,当前业务系统正常后再往下开机其他的业务系统。