更新时间:2026-04-15
一. 交付装备汇总
1.交付指引
2.交付装备
二. 正式订阅项目交付场景
1.订阅交付管理的目的
通过定义订阅交付标准,指导服务工程师进行订阅交付,使客户能够将订阅产品真正地使用起来,保障客户后续的使用效果和满意度,带来持续的续费以及增复购商机。
2.订阅交付旅程

3.订阅交付标准
查看【订阅交付指引】—【完成交付实施工作】可以看到个订阅产品的交付指标,指标达成后,订阅状态会从“交付中”变为“已交付”。
|
产品类型
|
交付标准
|
|
云威胁情报网关
|
在线设备数≥50%
|
|
统一端点安全SaaS-aES
|
端点安装率≥10%
|
|
可扩展检测响应平台XDR
|
交付巡检合格
|
|
互联网安全访问
|
交付巡检合格
|
|
数据泄密分析
|
交付巡检合格
|
|
零信任网络访问
|
交付巡检合格
|
|
远程接入安全
|
激活订阅
|
4.订阅交付操作
4.1分配服务工程师
- 主账号或者服务总接口人账号选择对应的项目分配服务工程师;
注:子账号登录,只能看到主账号/服务总接口人分配的正式项目,登录后若发现无相关项目,需要找主账号/服务总接口人进行分配。


- 分配完成之后可以在服务工程师列看到分配好的服务工程师,同时服务工程师手机上会收到短信,提醒服务工程师登录平台进行下一步交付动作。

4.2授权激活
以云威胁情报网关为例,其他订阅授权按照演示步骤进行激活即可。
4.2.1激活本地设备授权
通过现有AF设备正式授权激活流程,激活正式设备授权,开通本地云威胁情报授权(若有问题联系原厂400即可)。
注:只有云威胁情报网关,需要此步骤;
4.2.2产品激活
- 服务工程师登录平台后可以在项目列表中看到分配的项目,点击右侧操作列—激活订阅,会提示跳转到查看客户订单;

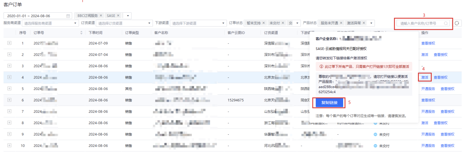
- 跳转到【交付管理】→【客户订单】,可以通过客户名称和订单号进行查询所需订单。点击
按钮然后点击“复制链接”发送给客户。

- 客户拿到链接后,直接在浏览器访问授权链接,确认授权无误后,点击激活授权,根据页面提示内容指引即可完成激活。

1)已有云图,直接登录云图激活,未注册云图需要先注册云图后在进行激活。

2)选择设备所在地,平台会根据地址开通POP节点

3)自动激活中,整个过程大约需要3分钟内。

4)激活成功,点击【前往深信服云图】即客户进入云图控制台

4.2.3激活确认
- 在项目列表中查看订阅状态为“交付中”并显示激活时间则代表激活完成;

鼠标置于交付中即可看到交付完成标准和当前异常状态,可以查看下方交付指引完成交付。

点击链接即可访问对应订阅的指引

- 如2.3图中点击【前往深信服云图】即可跳转到客户侧云图控制台,或者是访问https://x.sangfor.com.cn登录云图。登录云图后,选择【我的产品】,可看到云威胁情报网关状态为“使用中”,点击进入控制台后,按照指引文档配置功能即可。

4.3订阅交付
服务工程师按照对应的交付指引文档的操作指导,参照对应订阅的交付标准完成交付任务。
4.4订阅巡检
1、正式订阅授权激活之后,交付状态进入交付中,即可发起交付巡检

2、发起交付巡检,整个巡检过程预计2分钟左右,发起巡检的方式有以下3种
(1)鼠标置于交付状态发起交付巡检

(2)在操作列点击“发起交付巡检”

(3)在操作列点击“详情”,然后点击“发起交付巡检”

3、巡检结果查看
(1)鼠标置于交付状态可以查看巡检是否合格以及评分

(2)操作列点击详情可以查看巡检详细扣分项结果

巡检结果展示如下,将鼠标置于对应巡检扣分项,可以查看状态描述和改进意见

也可点击查看报告,查阅并下载整体巡检报告


4、忽略巡检项
针对需要忽略的巡检项,可由工程师直接点击【忽略】,忽略对应的巡检项,部分关键巡检项不支持忽略,必须解决后重新发起巡检,修复才可完成交付;
报告中会体现已经忽略的巡检项情况。

5、交付完结
如果总分大于 90 分,即可点击【交付完结】按钮,将订阅状态切换为”已交付“;
交付状态变为“已交付”。

三. 正式订阅项目管理场景
1.订阅项目管理的目的
用户可以通过对页面的相关字段筛选,灵活的查看订阅项目的相关情况,管理项目的整体交付情况,识别项目的运行风险,把控到期项目的续约进展。
2.订阅项目管理使用旅程

3.订阅项目管理标准
- 订阅项目能够及时完成激活和交付,【订阅状态】为已交付状态;
- 订阅项目运行异常问题能够及时介入处理,【健康评估】为优状态;
- 90天内到期和30天内到期的项目能够及时跟进续约和续费,保障订阅的续约率和续费率。
4.订阅项目管理使用操作
4.1客户列表
可以在客户列表选择要查看的用户,选择完成之后,在右侧会以列表的形式展示该客户的所有订阅项目情况。

4.2订阅状态统计
该模块主要是展示关键订阅状态的统计结果,支持点击筛选:
- 服务期内订阅总数:包含待激活、交付中、已交付、90天内到期、30天内到期的订阅
- 交付中:订阅已激活,但未达到交付合格标准,交付标准见【订阅交付指引】;
- 90天内到期:重点关注订阅运行情况,若存在异常,请及时联系客户处理;
- 30天内到期:请联系客户确实是否续费。

4.3项目字段筛选
用户可以通过对项目列表字段进行筛选,灵活得查看项目信息。
4.3.1订阅产品筛选
当前支持筛选SASE上网安全、SASE数据泄密分析、SASE远程接入安全、SASE零信任远程访问、云威胁情报网关、可扩展检测响应平台XDR、统一端点安全SaaS-aES产品。

4.3.2订阅状态状态筛选
当前支持筛选待激活、交付中、已交付、90天内到期、30天内到期、已过期项目。

4.3.3健康评估状态筛选
当前支持筛选健康评估状态优或差的项目。

4.3.4渠道筛选
当前支持筛选订货渠道、下游渠道、服务商渠道。

4.3.5搜索筛选
当前支持搜索客户名称、云图ID、工程师、订单号以及业绩人。

4.3.6项目列字段筛选
点击操作按钮右侧的列下拉点,即可看到当前的列展示字段,用户可以根据需求筛选想要展示的字段,当前可筛选展示的字段有订阅产品名称、客户名称/ID、订阅状态、运行状态、有效期、客户类型、客户联系人、服务工程师、最新下单时间、业绩人、业绩组、服务类型、订货渠道、下游渠道、服务商渠道。

4.4订单信息查看
在操作列点击【查看订单】可以查看订单详情,便于用户了解客户的历史订单信息,详情中包括订单号、下单时间、订单类型、订单区域、客户名称、产品信息等。

4.5项目列表导出
筛选完需要查看的项目之后,点击【导出】按钮,即可将项目列表进行导出。

4.6导出产品报告
可以看客户需求按需导出报告进行汇报,当前支持导出云威胁情报网关的使用报告。


4.7订阅标签
针对待激活、交付中、健康评估结果为差但无法进行处理的项目可以打订阅标签用来标记项目,便于对异常项目进行管理。

标签可以选择多个,同时支持添加备注

四.健康评估管理场景
1.健康评估管理的目的
健康评估定义了客户是否能够用好订阅产品的使用基线,用户可以通过查看产品的健康评估结果优或差来判断客户是否在有效的使用产品,针对存在产品运行异常的客户及时发现异常问题并介入处理,避免造成客户不满,影响正式订阅的续约续费。
2.健康评估标准
各产品定义健康评估的标准如下:
|
产品类型
|
运行状态异常场景(满足一条即为异常)
|
数据源刷新频率
|
|
云威胁情报网关
|
离线设备≥50%
|
每天凌晨5点刷新、每8小时更新一次
|
|
统一端点安全SaaS-aES
|
端点安装率低于10%
|
产线主动推送,每小时推送一次。
|
|
可扩展检测响应平台XDR
|
多项指标,以平台巡检模版为准
|
每天凌晨自动发起巡检,同时支持随时手动发起巡检
|
|
互联网安全访问
|
多项指标,以平台巡检模版为准
|
每天凌晨自动发起巡检,同时支持随时手动发起巡检
|
|
数据泄密分析
|
多项指标,以平台巡检模版为准
|
每天凌晨自动发起巡检,同时支持随时手动发起巡检
|
|
远程接入安全
|
多项指标,以平台巡检模版为准
|
每天凌晨自动发起巡检,同时支持随时手动发起巡检
|
|
零信任网络访问
|
多项指标,以平台巡检模版为准
|
每天凌晨自动发起巡检,同时支持随时手动发起巡检
|
3.健康评估异常管理

3.1健康评估详情查看
以健康评估为差的 SaaS-XDR 为例
- 查看健康评估为差的订阅之后,点击订阅详情或鼠标悬浮可查看健康评估详情,并且会进行健康评估异常汇总展示,便于快速了解产品异常情况。

2.如图所示异常原因为无日志上报。

3. 线下处理完成后,手动发起巡检,重新检查订阅产品健康情况(如果订阅产品不支持健康评估2.0,则需要等待平台凌晨自动上报运行情况)

4. 重新发起巡检后,订阅产品巡检项均为优,证明问题已解决。
