更新时间:2025-05-06
功能介绍
通过定义上网合规检查策略,管理员可以查看企业终端上网基线的基本情况,帮助员工规范使用终端。
前置条件
1、终端PC已安装部署SASE客户端并成功认证接入SASE云安全访问平台,控制台概览首页可看到用户在线。
2、仅支持Windows7SP1、10、11 操作系统。(6月份支持MAC OS 10.15.7+)
3、已配置【上网合规检查】
使用场景
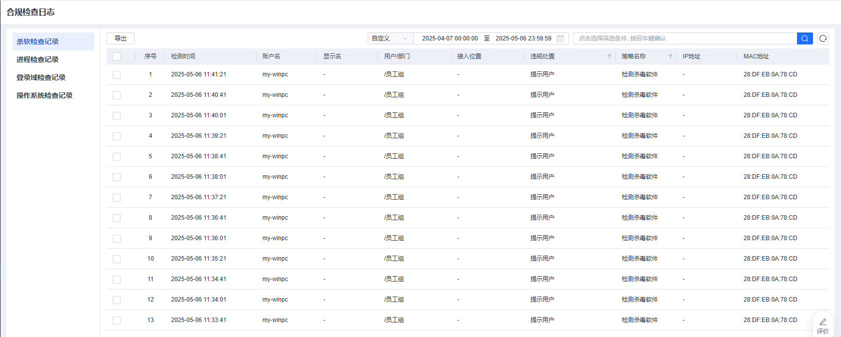
1、杀软检查记录
- 支持基线检查日志进行导出。
- 支持按照时间进行过滤(含近24h、7天、30天、自定义)
- 支持基于用户/部门、接入位置(硬件引流的概念)、关键字进行过滤

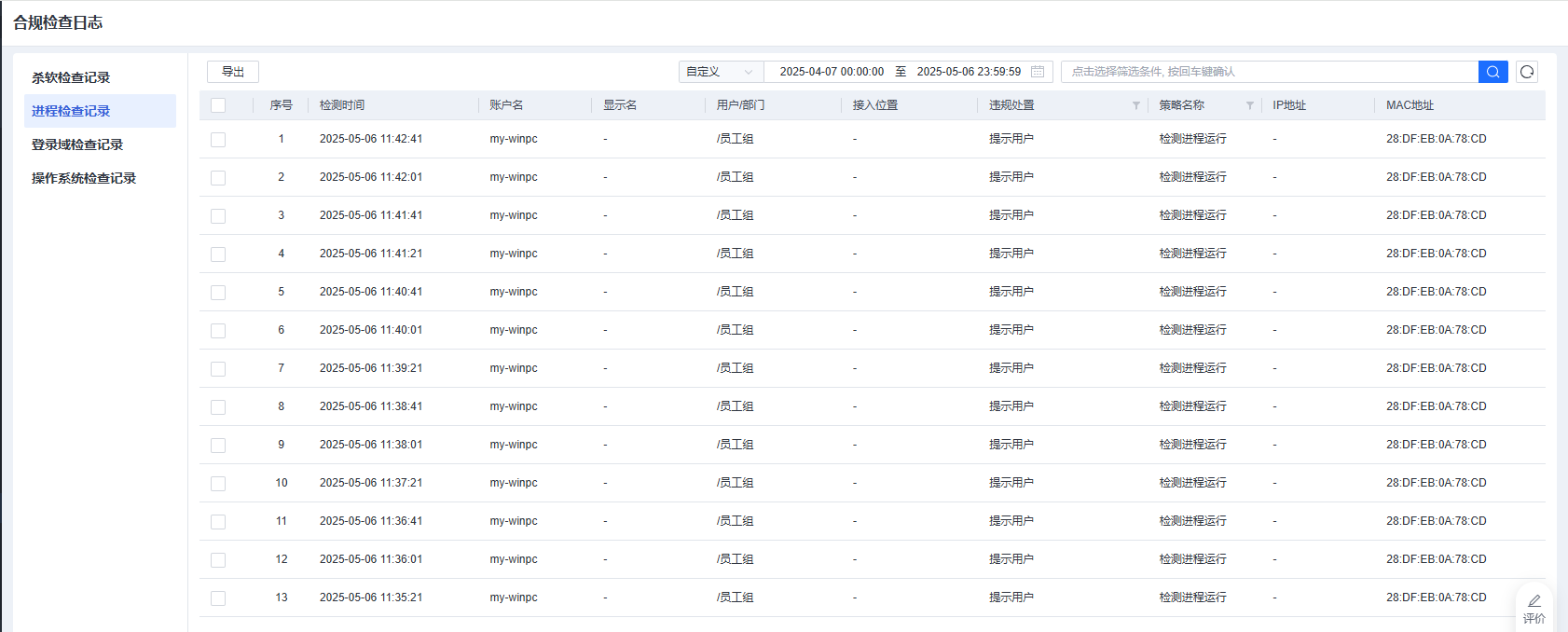
2、进程检查记录
- 支持基线检查日志进行导出。
- 支持按照时间进行过滤(含近24h、7天、30天、自定义)
- 支持基于用户/部门、接入位置(硬件引流的概念)、关键字进行过滤

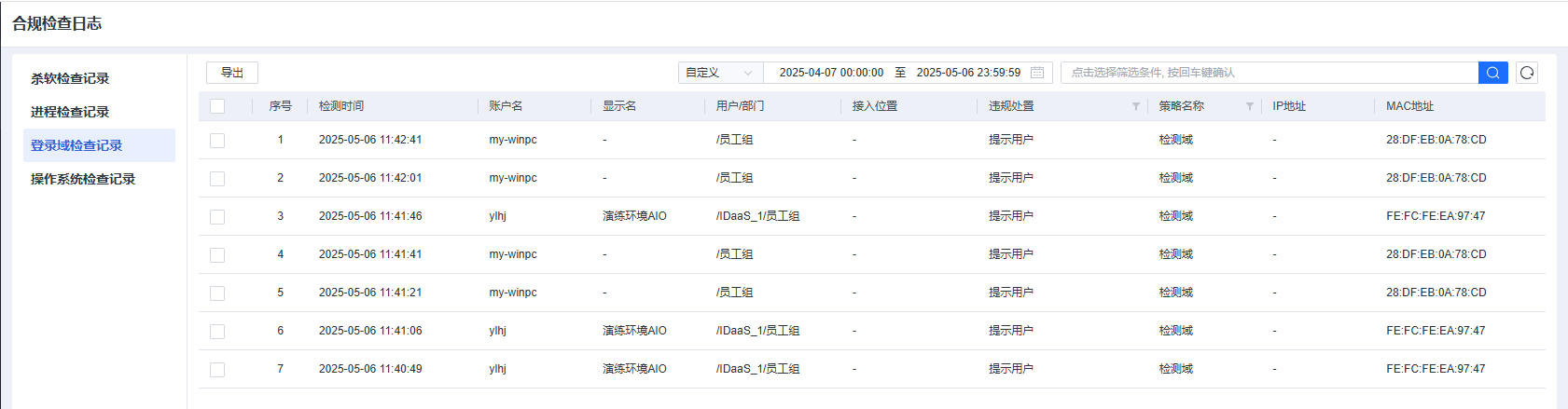
3、登录域检查记录
- 支持基线检查日志进行导出。
- 支持按照时间进行过滤(含近24h、7天、30天、自定义)
- 支持基于用户/部门、接入位置(硬件引流的概念)、关键字进行过滤

4、操作系统检查记录
- 支持基线检查日志进行导出。
- 支持按照时间进行过滤(含近24h、7天、30天、自定义)
- 支持基于用户/部门、接入位置(硬件引流的概念)、关键字进行过滤
