更新时间:2025-05-07
功能介绍
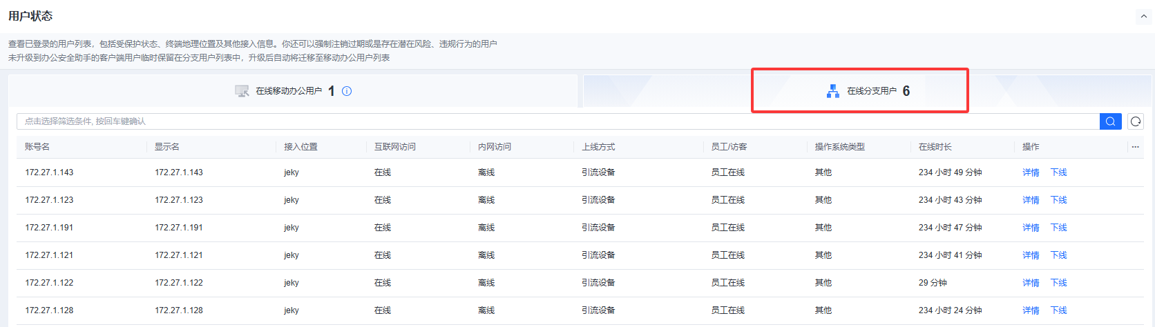
用户状态界面可查看已登录的用户列表,包括受保护状态、终端地理位置及其他接入信息。用户还可以强制注销过期或是存在潜在风险、违规行为的用户未升级到办公安全助手的客户端用户临时保留在分支用户列表中,升级后自动将迁移至移动办公用户列表。
操作步骤
1、通过在线移动办公用户页面可以查看PC客户端用户、移动端用户、无端用户三个类型用户的登录情况,并且可以从用户视角和终端视角切换。

2、用户可通过点击终端详情查看用户的登录/注销历史以及已登录终端的情况,也可以通过注销登录的方式强制终端下线。

3、通过在线分支用户页面可以查看PC登录用户的登录情况,用户也可通过点击终端详情查看用户的登录/注销历史以及已登录终端的情况,也可以通过注销登录的方式强制终端下线。
