更新时间:2025-05-06
功能介绍
互联网访问日志功能,记录了所有引流终端的全部互联网访问行为。支持针对用户信息,接入分支和应用类型进行检索,满足用户筛选查询日志的个性化需求。并可通过导出功能,生成日志报表。
前置条件
1、授权前置条件:云图上已开通【上网安全】订阅模块,若无授权,参考《SASE授权开通》章节。
2、引流前置条件:已通过硬件引流器(RT/SDW-R/AF)或引流客户端的方式成功接入云安全访问平台,控制台首页可看到用户在线,接入操作参考《安装部署》章节。
3、正确配置SSL解密策略,且在终端证书安装与替换正常。
操作步骤
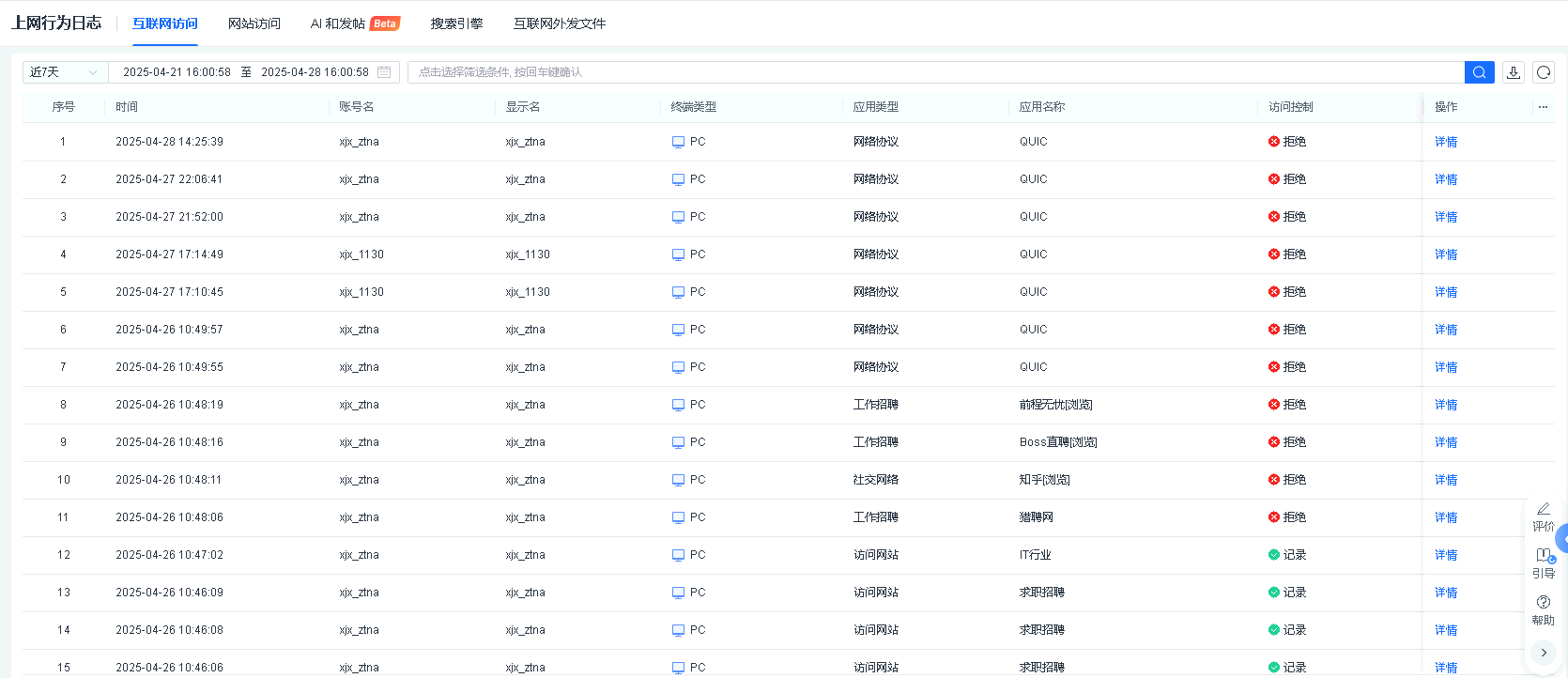
1、登录云图,云图上已开通【上网安全】订阅模块,在左侧菜单栏选择【日志中心】-【上网行为日志】-【互联网访问】,进入互联网访问日志页面。

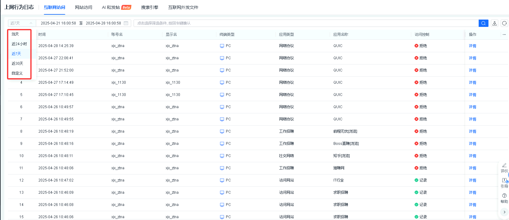
2、支持近24小时、近7天、近30天及自定义查询日期,以及指定对应的用户,实现精细化查询日志的需求。

3、在右侧筛选栏,可对日志的应用类型,访问控制动作,做相应日志筛选查询。

4、点击对应的互联网访问日志条目后的详情按钮,可查看日志详情,包含终端用户信息、访问控制动作,应用类型,命中策略名称,具体域名/URL等。
点击命中策略名,可查看匹配的策略的详情。点击编辑支持修改该管控策略的配置。

5、点击导出,可将当前日志以 excel 表格形式导出。

